特斯拉一直试图实现汽车生产大幅自动化,而且在此过程中曾遇到一些失误。据外媒报道,近日特斯拉推出新举措,为一种更易被机器人操作的新型电缆申请专利,为其下一代“外型战舰”(Alien Dreadnought)汽车制造工厂做好准备。
特斯拉首席执行官埃隆马斯克表示,他们最大的错误之一在于尝试将Model 3车型的生产进行高度自动化,实例就是特斯拉曾试图将操纵电缆等人类比机器人更胜任的任务进行自动化。
为了促进电缆操纵的自动化,特斯拉一直在减少车辆中线束的长度。马斯克表示,Model S有大约3公里长的线束,特斯拉将Model 3车型的线束长度缩短至1.5公里长。对于未来车辆,特斯拉的目标是将Model Y车型的线束缩短至100米长。但是,现在特斯拉还计划使用不同类型的电缆,此类电缆正是其新申请的专利。
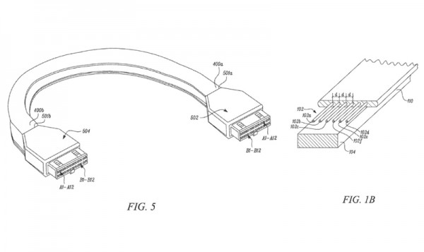
特斯拉为其名为“结构电缆”的电缆申请了专利,他们解释当前应用中的电缆存在问题。传统电缆,如组件电缆、USB电缆和HDMI电缆,人手易于操作,可与不同结构或设备上的连接器适当连接。但是,此类电缆的安装很难实现自动化。此类电缆缺乏足够的结构完整性和刚性,不易被机械臂拾取、移动和放置。此外,传统电缆刚性不足,因此不易形成不同形状,不易安装在有严格空间限制的预定位置。在汽车制造期间,通常无法把传统柔性电缆连接在不同部件的过程自动化,但是手动连接非常耗时、繁琐且昂贵。此外,虽然某些传统电缆(如USB Type-C电缆)设计可用于多种用途(如可通过单根该电缆传输电力、数据和视频),但是特定应用并不需要传输上述三种类型的信息。
特斯拉的解决方案就是,在电缆内部设置“结构元件”,目标是“作为自动化生产的一部分,可通过机械臂将其操纵到正确位置,同时提供可靠数据连接。”


沪公网安备 31010402001884号